QDL、QDLF型不銹鋼立式多級離心泵
QDL、QDLF型不銹鋼立式多級離心泵(簡稱:QDL、QDLF多級泵),系屬輕型不銹鋼制立式多級離心泵類產品。具有以下特點:
低噪聲:配置Y2型優型電機運行平穩,噪聲低
無泄漏:特選機械密封,科學的加工工藝,專業技術的保證,實現了"無泄漏"的追求
拆裝簡便:剛性聯軸器,花鍵泵軸設計,且重理相比鑄鐵泵減輕約50%,操作性更好
安裝便捷:進、出水口在同一水平面,對管路要求降低,且管路使用更可靠,穩定性高
泵房建筑投資更少:在原來立式多級泵的基礎上進行革新,體積小,占地面積小
避免水質的第二次污染:導流部件、軸等用不銹鋼制造,克服了鑄鐵泵污染嚴重的缺點,保證了水質的質量
無銹蝕困擾:采用不銹鋼套筒,更好的適應各種環境,永不生銹
壽命更長:不銹鋼板材沖壓、焊接葉輪,重量輕、平衡性好,運行穩定
維護費用低:采用水潤承設計,運行更可靠,無須潤滑保養
高效節能:更優水力模型、光滑的過流部件,大大提高了機械效率

QDL、QDLF型不銹鋼立式多級離心泵
QDL、QDLF多級泵產品范圍
| 說明/ | QDL2 | QDL4 | QDL8 | QDL16 | QDL32 |
| 額定流量/ [m3/h] | 2 | 4 | 8 | 16 | 32 |
| 額定流量/ [1/s] | 0.56 | 1.1 | 2.2 | 4.4 | 8.9 |
| 流量范圍/ [m3/h] | 1~3.5 | 1.5~8 | 5~12 | 8~22 | 16~40 |
| 流量范圍/ [1/s] | 0.28~0.97 | 0.42~2.2 | 1.4~3.3 | 2.2~6.1 | 4.4~11.1 |
| 最大壓力/ [bar] | 23 | 21 | 21 | 22 | 26 |
| 電機功率/ [kw] | 0.37~3 | 0.37~4 | 0.75~7.5 | 2.2~15 | 1.5~30 |
| 溫度范圍/ [°C] | -15~+120 | ||||
| 最高效率 | 46 | 59 | 64 | 70 | 76 |
| 類型 | |||||
| QDL | |||||
| QDLF | |||||
| QDLF管路聯接 | |||||
| DIN法蘭 | DN25 | DN32 | DN40 | DN50 | DN65 |
| 管螺紋 | |||||
QDL、QDLF多級泵應用范圍
QDL/QDLF是一種多功能產品,可以輸送從自來水到工業液體的各種不同介質,適應于不同溫度、流量和壓力范圍,QDL適應于無腐蝕性液體,QDLF適用于輕度腐蝕性液體。供水:水廠過濾器與輸送、水廠分區送水、主管增壓、高層建筑增壓。工業增壓:流程水系統、清洗系統、高壓沖洗系統、消防系統。工業液體輸送:冷卻和空調系統、鍋爐給水和冷凝系統、機床配套、酸和堿。水處理:超濾系統、反滲透系統、蒸餾系統、分離器、游泳池。灌溉:農田灌溉、噴灌、滴灌。
QDL、QDLF多級泵運行條件
介質:稀薄、干凈、非易燃易爆并不含固體顆粒或纖維的液體。 液體溫度:常溫型-15°C至+70°C。 熱水型:+70°C至+120°C。 環境溫度:最高+40°C。 海拔:最高1000m。
QDL、QDLF多級泵泵體與電機
QDL/QDLF為安裝標準電機的非自吸不銹鋼立式多級泵,電機軸通過泵頭用聯軸器直接與泵軸聯接,拉桿螺栓將耐壓筒、過流部件固定在泵頭和進出水段之間,泵進出水口在泵底同一直線上;本泵可規格需要配置智能保護器,對泵干轉、缺相、過載等進行有效保護。 電機為全封閉,風冷式二級標準電機。防護等級:IP55;絕緣等級:F; 標準電壓:50Hz:1×220-230/240V;3×200-220/346-380V;3×220-240/380-415V;3×380-415V
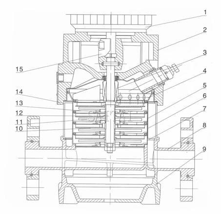
QDL、QDLF多級泵截面圖QDL,QDLF2,4

QDL、QDLF多級泵截面圖QDL,QDLF2,4
QDL、QDLF多級離心泵 材料QDL,QDLF2,4
| 序號 | 名稱 | 材料 | AISI | 序號 | 名稱 | 材料 | AISI |
| 1 | 電 機 | 9 | 底座 | 鑄鐵 | ASTM25B | ||
| 2 | 電 機 座 | 鑄鐵 | ASTM25B | 10 | 軸承 | 碳化鎢 | AISI304 |
| 3 | 機械密封 | 11 | 葉輪 | 不銹鋼 | AISI316 | ||
| 4 | 出口導流器 | 不銹鋼 | AISI304 | 12 | 軸 | 不銹鋼 | AISI304 |
| 5 | 帶軸承座導流器 | 不銹鋼 l | AISI304 | 13 | 葉輪隔 | 不銹鋼 | AISI304 |
| 6 | 導流器 | 不銹鋼 | AISI304 | 14 | 耐壓筒 | 不銹鋼 | |
| 7 | 進口導流器 | 不銹鋼 | AISI304 | 15 | 聯軸器 | 碳鋼 | |
| 8 | 泵座 | 不銹鋼 | ASTM25B | 橡膠零件 | FPM |
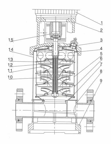
QDL、QDLF多級泵截面圖QDL,QDLF8,16

QDL、QDLF多級泵截面圖QDL,QDLF8,16
QDL、QDLF多級泵材料QDL,QDLF8,16
| 序號 | 名稱 | 材料 | AISI ASTM |
| 1 | 電 機 | ||
| 2 | 電 機 座 | 鑄鐵 | ASTM25B |
| 3 | 機械密封 | ||
| 4 | 出口導流器 | 不銹鋼 | AISI304 |
| 5 | 帶軸承座導流器 | 不銹鋼 | AISI304 |
| 6 | 導流器 | 不銹鋼 | AISI304 |
| 7 | 進口導流器 | 不銹鋼 | AISI304 |
| 8 | 泵座 | 不銹鋼 | AISI304 |
| 9 | 底座 | 鑄鐵 | ASTM25B |
| 10 | 軸承 | 碳化鎢 | |
| 11 | 葉輪 | 不銹鋼 | AISI304 |
| 12 | 軸 | 不銹鋼 | AISI316 |
| 13 | 葉輪隔 | 不銹鋼 | AISI304 |
| 14 | 耐壓筒 | 不銹鋼 | |
| 15 | 聯軸器 | 碳鋼 | |
| 橡膠零件 | FPM |
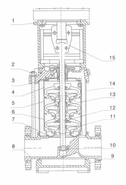
QDL、QDLF多級泵截面圖QDL,QDLF32

QDL、QDLF多級泵截面圖QDL,QDLF32
QDL、QDLF多級泵材料QDL,QDLF32
| 序號 | 名稱 | 材料 | AISI ASTM |
| 1 | 電 機 座 | 鑄鐵 | ASTM25B |
| 3 | 機械密封 | 碳化鎢 | |
| 4 | 出口導流器 | 不銹鋼 | AISI304 |
| 5 | 帶軸承座導流器 | 不銹鋼 | AISI304 |
| 6 | 導流器 | 不銹鋼 | AISI304 |
| 7 | 進口導流器 | 不銹鋼 | AISI304 |
| 9 | 底座 | 鑄鐵 | ASTM25B |
| 10 | 下軸承 | 碳化鎢 | |
| 11 | 葉輪 | 不銹鋼 | AISI304 |
| 12 | 軸 | 不銹鋼 | AISI316 |
| 13 | 中間軸套 | 碳化鎢 | |
| 14 | 耐壓筒 | 不銹鋼 | AISI304 |
| 15 | 聯軸器 | 碳鋼 | |
| 橡膠零件 | FPM | ||
| QDL | |||
| 2 | 泵端座 | 鑄鐵 | ASTM25B |
QDL、QDLF多級泵型號含義

QDL、QDLF多級泵型號含義
QDL、QDLF多級泵最大進口壓力
| 型號 | 最大進口壓力 |
| QDL, QDLF2 | |
| QDL,QDLF2-20 | 6[bar] |
| QDL,QDLF2-30~2-110 | 10[bar] |
| QDL,QDLF-130~2-260 | 15[bar] |
| QDL,QDLF4 | |
| QDL,QDLF4-20 | 6[bar] |
| QDL,QDLF4-30~4-100 | 10[bar] |
| QDL,QDLF4-120~4-220 | 15[bar] |
| QDL,QDLF8 | |
| QDL,QDLF8-20/1~8-60 | 6[bar] |
| QDL,QDLF8-80~8-200 | 10[bar] |
| QDL,QDLF16 | |
| QDL,QDLF16-20~16-30 | 6[bar] |
| QDL,QDLF16-40~16-160 | 10[bar] |
| QDL,QDLF32 | |
| QDL,QDLF32-10-1~32-20-2 | 3[bar] |
| QDL,QDLF32-20~32-40 | 4[bar] |
| QDL,QDLF32-50-2~32-100 | 10[bar] |
| QDL,QDLF32-110-2~32-140 | 15[bar] |
QDL、QDLF多級泵最大工作壓力
| 型號 | 曲線號 |
| QDL,QDLF2 | |
| QDL,QDLF2-20~150 | 1 |
| QDL,QDLF2-180~2-260 | 2 |
| QDL,QDLF4 | |
| QDL,QDLF4-20~4-140 | 1 |
| QDL,QDLF4-160~4-220 | 2 |
| QDL,QDLF8 | |
| QDL,QDLF8-20/1~8-120 | 1 |
| QDL,QDLF8-140~8-200 | 3 |
| QDL,QDLF16 | |
| QDL,QDLF16-20~16-80 | 1 |
| QDL,QDLF16-100~16-160 | 3 |
| QDL,QDLF32 | |
| QDL,QDLF32-10-1~32-70 | 1 |
| QDL,QDLF32-80-2~32-120 | 4 |
| QDL,QDLF32-130-2~32-140 | 5 |
QDL、QDLF2系列多級泵尺寸和重量
| 泵型號 | 尺寸(毫米) | 重量 (公斤) | ||||
| B1 | B2 | B1+ B2 | D1 | D2 | ||
| QDL2-20 | 220 | 225 | 445 | 145 | 110 | 20 |
| QDL2-30 | 238 | 225 | 463 | 145 | 110 | 20 |
| QDL2-40 | 256 | 225 | 481 | 145 | 110 | 20 |
| QDL2-50 | 274 | 225 | 499 | 145 | 110 | 20 |
| QDL2-60 | 297 | 225 | 522 | 145 | 110 | 25 |
| QDL2-70 | 315 | 225 | 540 | 145 | 110 | 25 |
| QDL2-90 | 351 | 245 | 596 | 170 | 150 | 30 |
| QDL2-110 | 387 | 245 | 632 | 170 | 150 | 30 |
| QDL2-130 | 440 | 245 | 685 | 170 | 150 | 35 |
| QDL2-150 | 476 | 245 | 721 | 170 | 150 | 35 |
| QDL2-180 | 530 | 265 | 795 | 180 | 155 | 40 |
| QDL2-220 | 602 | 265 | 867 | 180 | 155 | 45 |
| QDL2-260 | 682 | 290 | 972 | 180 | 155 | 50 |
QDL、QDLF2系列多級泵性能表
| 泵型號 | 配用電機(KW) | Q m3/h | 1 | 1.2 | 1.6 | 2.0 | 2.4 | 2.8 | 3.2 | 3.5 |
| QDL2-20 | 0.37 | Hm | 18 | 17 | 16 | 15 | 13 | 12 | 10 | 8 |
| QDL2-30 | 0.37 | 27 | 26 | 24 | 22 | 20 | 18 | 15 | 12 | |
| QDL2-40 | 0.55 | 36 | 35 | 33 | 30 | 26 | 24 | 20 | 16 | |
| QDL2-50 | 0.55 | 45 | 43 | 40 | 37 | 33 | 30 | 24 | 20 | |
| QDL2-60 | 0.75 | 53 | 52 | 50 | 45 | 40 | 36 | 30 | 24 | |
| QDL2-70 | 0.75 | 60 | 61 | 57 | 52 | 47 | 41 | 35 | 28 | |
| QDL2-90 | 1.1 | 80 | 78 | 73 | 67 | 61 | 54 | 45 | 37 | |
| QDL2-110 | 1.1 | 98 | 95 | 89 | 82 | 73 | 64 | 54 | 44 | |
| QDL2-130 | 1.5 | 116 | 114 | 106 | 98 | 89 | 78 | 65 | 52 | |
| QDL2-150 | 1.5 | 134 | 130 | 123 | 112 | 100 | 90 | 73 | 60 | |
| QDL2-180 | 2.2 | 161 | 157 | 148 | 136 | 121 | 108 | 91 | 76 | |
| QDL2-220 | 2.2 | 197 | 192 | 180 | 165 | 148 | 130 | 110 | 90 | |
| QDL2-260 | 3.0 | 232 | 228 | 214 | 198 | 179 | 158 | 130 | 110 |
QDL、QDLF4系列多級泵尺寸和重量
| 泵型號 | 尺寸(毫米) | 重量 (公斤) | ||||
| B1 | B2 | B1+ B2 | D1 | D2 | ||
| QDL4-20 | 235 | 225 | 460 | 145 | 110 | 20 |
| QDL4-30 | 265 | 225 | 490 | 145 | 110 | 20 |
| QDL4-40 | 295 | 225 | 520 | 145 | 110 | 20 |
| QDL4-50 | 325 | 245 | 570 | 170 | 150 | 20 |
| QDL4-60 | 350 | 245 | 595 | 170 | 150 | 20 |
| QDL4-80/7 | 420 | 245 | 665 | 170 | 150 | 25 |
| QDL4-80 | 420 | 245 | 665 | 170 | 150 | 25 |
| QDL4-100 | 475 | 265 | 740 | 180 | 155 | 30 |
| QDL4-120 | 530 | 265 | 795 | 180 | 155 | 30 |
| QDL4-160/4 | 645 | 290 | 935 | 180 | 155 | 35 |
| QDL4-160 | 645 | 290 | 935 | 180 | 155 | 35 |
| QDL4-190 | 725 | 325 | 1050 | 210 | 180 | 35 |
| QDL4-220 | 805 | 325 | 1130 | 210 | 180 | 40 |
QDL、QDLF4系列多級泵性能表
| 泵型號 | 配用電機(KW) | Q m3/h | 1.5 | 2.0 | 3.0 | 4.0 | 5.0 | 6.0 | 7.0 | 8.0 |
| QDL4-20 | 0.37 | Hm | 19 | 18 | 17 | 15 | 13 | 10 | 8 | 6 |
| QDL4-30 | 0.55 | 28 | 27 | 26 | 24 | 20 | 18 | 13 | 10 | |
| QDL4-40 | 0.75 | 38 | 36 | 34 | 32 | 27 | 24 | 19 | 13 | |
| QDL4-50 | 1.1 | 47 | 45 | 43 | 40 | 34 | 31 | 23 | 17 | |
| QDL4-60 | 1.1 | 56 | 54 | 52 | 48 | 41 | 37 | 28 | 20 | |
| QDL4-80/7 | 1.5 | 66 | 63 | 61 | 56 | 48 | 43 | 33 | 24 | |
| QDL4-80 | 1.5 | 74 | 72 | 70 | 64 | 55 | 50 | 38 | 27 | |
| QDL4-100 | 2.2 | 96 | 90 | 87 | 81 | 71 | 62 | 48 | 34 | |
| QDL4-120 | 2.2 | 114 | 108 | 104 | 95 | 85 | 75 | 58 | 41 | |
| QDL4-160/4 | 3.0 | 136 | 126 | 122 | 112 | 101 | 89 | 68 | 48 | |
| QDL4-160 | 3.0 | 152 | 144 | 140 | 129 | 115 | 101 | 78 | 55 | |
| QDL4-190 | 4.0 | 183 | 171 | 168 | 153 | 137 | 122 | 93 | 67 | |
| QDL4-220 | 4.0 | 211 | 200 | 192 | 178 | 160 | 138 | 108 | 79 |
QDL、QDLF8系列多級泵尺寸和重量
| 泵型號 | 尺寸(毫米) | 重量 (公斤 | |||||
| B1 | B2 | B1+ B2 | D1 | D2 | D3 | ||
| QDL8-20 | 350 | 225 | 575 | 145 | 110 | 25 | |
| QDL8-30 | 380 | 245 | 625 | 170 | 150 | 30 | |
| QDL8-40 | 425 | 245 | 670 | 170 | 150 | 30 | |
| QDL8-50 | 455 | 265 | 720 | 180 | 155 | 40 | |
| QDL8-60 | 485 | 265 | 750 | 180 | 155 | 40 | |
| QDL8-80 | 550 | 290 | 840 | 180 | 155 | 45 | |
| QDL8-100 | 610 | 325 | 935 | 210 | 180 | 55 | |
| QDL8-120 | 670 | 325 | 995 | 210 | 180 | 55 | |
| QDL8-140 | 750 | 395 | 1145 | 230 | 190 | 300 | 80 |
| QDL8-160 | 810 | 395 | 1205 | 230 | 190 | 300 | 80 |
| QDL8-180 | 870 | 435 | 1305 | 270 | 210 | 300 | 90 |
| QDL8-200 | 930 | 435 | 1365 | 270 | 210 | 300 | 90 |
QDL、QDLF8系列多級泵性能表
| 泵型號 | 配用電機(KW) | Q m3/h | 5 | 6 | 7 | 8 | 9 | 10 | 11 | 12 |
| QDL8-20 | 0.75 | Hm | 21 | 20 | 19 | 18 | 17 | 16 | 15 | 14 |
| QDL8-30 | 1.1 | 31 | 30 | 29 | 28 | 26 | 24 | 23 | 20 | |
| QDL8-40 | 1.5 | 41 | 40 | 39 | 37 | 35 | 32 | 30 | 27 | |
| QDL8-50 | 2.2 | 52 | 50 | 48 | 46 | 44 | 41 | 37 | 34 | |
| QDL8-60 | 2.2 | 62 | 60 | 58 | 55 | 53 | 49 | 45 | 41 | |
| QDL8-80 | 3.0 | 83 | 80 | 78 | 74 | 70 | 65 | 60 | 54 | |
| QDL8-100 | 4.0 | 104 | 100 | 97 | 92 | 88 | 80 | 75 | 68 | |
| QDL8-120 | 4.0 | 125 | 120 | 116 | 110 | 105 | 97 | 90 | 81 | |
| QDL8-140 | 5.5 | 146 | 140 | 136 | 129 | 123 | 113 | 105 | 95 | |
| QDL8-160 | 5.5 | 166 | 160 | 155 | 147 | 140 | 130 | 120 | 108 | |
| QDL8-180 | 7.5 | 187 | 180 | 175 | 166 | 158 | 146 | 135 | 122 | |
| QDL8-200 | 7.5 | 208 | 200 | 194 | 185 | 175 | 162 | 150 | 135 |
QDL、QDLF16系列多級泵尺寸和重量
| 泵型號 | 尺寸(毫米) | 重量 (公斤 | |||||
| B1 | B2 | B1+ B2 | D1 | D2 | D3 | ||
| QDL16-30/2 | 455 | 265 | 720 | 180 | 155 | 40 | |
| QDL16-30 | 455 | 290 | 745 | 180 | 155 | 50 | |
| QDL16-40 | 500 | 325 | 825 | 210 | 180 | 55 | |
| QDL16-50 | 565 | 395 | 960 | 230 | 190 | 300 | 70 |
| QDL16-60 | 610 | 395 | 1005 | 230 | 190 | 300 | 75 |
| QDL16-70 | 655 | 435 | 1090 | 270 | 210 | 300 | 80 |
| QDL16-80 | 700 | 435 | 1135 | 270 | 210 | 300 | 80 |
| QDL16-100 | 820 | 490 | 1310 | 330 | 255 | 350 | 115 |
| QDL16-120 | 910 | 490 | 1400 | 330 | 255 | 350 | 115 |
| QDL16-140 | 1000 | 490 | 1490 | 330 | 255 | 350 | 160 |
| QDL16-160 | 1090 | 490 | 1580 | 330 | 255 | 350 | 165 |
QDL、QDLF16系列多級泵性能表
| 泵型號 | 配用電機(KW) | Q m3/h | 8 | 10 | 12 | 14 | 16 | 18 | 20 | 22 |
| QDL16-30/2 | 2.2 | Hm | 28 | 27 | 26 | 25 | 23 | 21 | 19 | 17 |
| QDL16-30 | 3.0 | 42 | 41 | 39 | 37 | 35 | 32 | 29 | 26 | |
| QDL16-40 | 4.0 | 56 | 54 | 52 | 50 | 47 | 44 | 38 | 34 | |
| QDL16-50 | 5.5 | 69 | 68 | 65 | 62 | 59 | 54 | 48 | 43 | |
| QDL16-60 | 5.5 | 83 | 81 | 78 | 75 | 70 | 64 | 58 | 52 | |
| QDL16-70 | 7.5 | 97 | 95 | 92 | 87 | 82 | 75 | 68 | 61 | |
| QDL16-80 | 7.5 | 111 | 108 | 105 | 100 | 94 | 86 | 77 | 70 | |
| QDL16-100 | 11 | 139 | 136 | 131 | 125 | 118 | 108 | 97 | 87 | |
| QDL16-120 | 11 | 167 | 163 | 157 | 150 | 141 | 129 | 116 | 105 | |
| QDL16-140 | 15 | 194 | 190 | 184 | 175 | 165 | 151 | 136 | 122 | |
| QDL16-160 | 15 | 222 | 217 | 210 | 200 | 189 | 173 | 155 | 140 |
QDL、QDLF多級泵并聯運行
將多臺泵并聯取代一臺大泵可能更具優越性。在變流量系統中,適應系統所需工作點。增加供水可能性,因為當泵出故障時,僅影響系統的部分流量 檢查確保不會/沒有處于氣蝕狀態 如果工作需求變化考慮將兩臺或更多臺并聯
注:
1.本網頁的QDL、QDLF型不銹鋼立式多級離心泵結構、結構圖、尺寸、參數、流量、揚程、電機轉速等主要性能參數,以及安裝尺寸圖、安裝尺寸表均只適用于參考,詳細CAD圖、安裝圖、以及產品說明書請向賽泰水泵營銷人員索取。
2.由于編輯水平有限,錯誤和不妥之處在所難免,真誠希望您批評指正。
QDL、QDLF型不銹鋼立式多級離心泵相關產品
下一頁:D型臥式多級離心泵
返回至本系列目錄:多級泵
上一頁:DF型多級臥式離心泵