Home > products > Valve > Forged Steel Gate, Globe, Check Valves


Materials

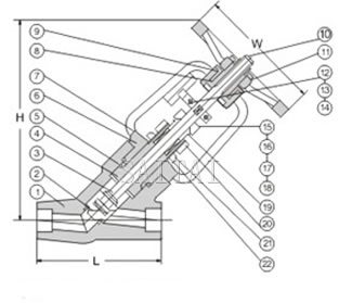
| NO. | Part Name | CS to ASTM | AS to ASTM | SS to ASTM | |
| Type A105 | Type A182 F22 | Type A182 304(L) | A182 F182 F316(L) | ||
| 1 | Body | A105 | A182 F22 | A182 F304(L) | A182 F316(L) |
| 2 | Disc | A276 420 | A276 304 | A276 304(L) | A276 316(L) |
| 3 | Stem | A182 F6 | A182 F304(L) | A182 F316(L) | |
| 4 | Pressure Seat | A105 | A182 F304 | A182 F304(L) | A182 F316(L) |
| 5 | Pressure Ring | A182 F304(L) | A182 F316(L) | ||
| 6 | Bonnet | A105 | A182 F22 | A182 F304(L) | A182 F316(L) |
| 7 | P.S. Washer | A105 | A182 F22 | A182 F304(L) | A182 F316(L) |
| 8 | Yoke Nut | A276 410 | |||
| 9 | Retaining Nut | A194 2H | A194 4 | A194 8 | A194 8M |
| 10 | H.W. Lock Nut | A194 2H | A194 4 | A194 8 | A194 8M |
| 11 | Hand wheel | A197 | |||
| 12 | Wafer board | A105 | A182 F22 | A182 F304(L) | A182 F316(L) |
| 13 | Bolt | A193 B7 | A193 B16 | A193 B8 | A1983 B8M |
| 14 | Nut | A194 2H | A194 4 | A194 8 | A194 8M |
| 15 | Gland Flange | A216 WCB | A351 CF8 | ||
| 16 | Gland Eyebolt | A193 B7 | A193 B16 | A193 B8 | A1983 B8M |
| 17 | Gland Nut | A194 2H | A194 4 | A194 8 | A194 8M |
| 18 | Pin | A276 420 | A182 F304 | ||
| 19 | Gland | A276 420 | A182 F304 | ||
| 20 | Bearing Ear | A105 | A182 F22 | A182 F304(L) | A182 F316(L) |
| 21 | P.S. Lock Nut | A194 2H | A194 4 | A194 8 | A194 8M |
| 22 | Stem Packing | Flexible graphite | PTFE | ||
| Suitable Medium | W.O.G. etc | W.O.G. etc | HNO3,CH3OOH etc | ||
| Suitable Temperature | -29°C~425°C | -29°C~550°C | -29°C~180°C | ||
ASME Pressure Classes 800 Lb
Bolted Bonnet-Threaded and Socket weld Ends-Dimensions (mm) and Weights (kg)
| NPS | 1/2~ | 3/4~ | 1~ | 1-1/4~ | 1-1/2~ | 2~ |
| L | 98 | 111 | 120 | 140 | 140 | 170 |
| H(OPEN) | 175 | 215 | 254 | 305 | 305 | 365 |
| W | 100 | 125 | 160 | 160 | 180 | 200 |
| Weights | 5 | 6.3 | 7.6 | 9.8 | 13.8 | 14.0 |
ASME Pressure Classes 900, 1500, 2500 Lb
Pressure Seal -Threaded and Socket weld Ends-Dimensions (mm) and Weights (kg)
| NPS | 1/2~ | 3/4~ | 1~ | 1-1/4~ | 1-1/2~ | 2~ | |
| L | 900~1500Lb | 140 | 140 | 140 | 178 | 178 | 216 |
| 2500Lb | 186 | 186 | 186 | 232 | 232 | 279 | |
| H(OPEN) | 333 | 333 | 333 | 406 | 406 | 524 | |
| W | 125 | 125 | 160 | 160 | 180 | 200 | |
| Weights | 900~1500Lb | 11.2 | 10.5 | 10.1 | 21.0 | 19.6 | 40.4 |
| 2500Lb | 12.3 | 11.6 | 10.8 | 28.0 | 26.4 | 43.8 | |
Supplier: Saitai Valve, China
Manufacturer: Shop in Shanghai Qingpu Industrial Park
Y Pattern Globe Valve, Forged, Pressure Seal Related Products
Next:Cryogenic Globe Valve, Forged steel, Class 800Lb