FY型液下泵
FY型液下泵是本單位在傳統耐腐蝕液下泵基礎上,融合瑞士蘇爾壽公司同類產品的先進技術,經改進設計而產生的新型泵;該泵取消了其他液下泵普遍采用的機械密封和選用了獨特結構的葉輪,使泵高效、節能、無泄漏、壽命特長,從而廣泛應用于石油、化工、制藥、造紙、冶金、污水處理等行業。

FY型液下泵
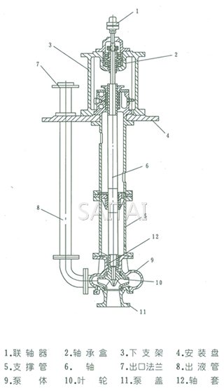
FY液下泵結構圖與特點

FY型液下泵結構圖
1、 泵為立式液下泵,外形美觀,直接安裝在被輸送介質的儲存器上,無額外占地面積,從而降低了基建投入。
2、 取消了機械密封,解決了其他液下泵因機械密封容易磨損而須經常維修的煩惱,節約了泵的運行成本,提高了工作效率。
3、 采用獨特的離心式雙平衡葉輪,供輸送不含固體顆粒等清潔的介質,振動噪音特低,效率高;采用開式雙平衡葉輪,供輸送不清潔帶有固體顆粒及短纖維的液體、運行平穩、不堵塞。
FY液下泵使用條件
1、 被輸送介質溫度為-20-+140℃。
2、 鑄鐵材質的泵,介質PH值在5-9范圍內。
3、 采用開式葉輪的泵,被輸送液體中含有的固體顆粒直徑以不超過泵吸入口直徑30%為宜。
FY型液下泵型號意義

FY型液下泵型號意義
| 型號 名稱 |
抽氣速率(L/S) | 極限壓力≤(Pa) | 機組組成泵型號 | 總功率(kw) | ||
| 主泵 | 中間泵 | 前級泵 | ||||
| JZJS30-1 | 30 | 4×10-2 | ZJ30 | SZ-63 | 3075 | |
| JZJS70-2 | 70 | 4×10-2 | ZJ70 | SZ-100 | 5.5 | |
| JZJS150-2 | 150 | 4×10-2 | ZJ150A | SZ-250 | 14 | |
| JZJS300-2 | 300 | 4×10-2 | ZJ300 | SZ-360 | 19 | |
| JZJS600-2 | 600 | 4×10-2 | ZJ600 | 2SK-12 | 35.5 | |
| JZJS1200-2 | 1200 | 4×10-2 | ZJ1200 | 2SK-25 | 56 | |
| JZJS70-21 | 70 | 10-1 | ZJ70 | ZJ30 | SZ-100 | 6.25 |
| JZJS70-12 | 70 | 10-1 | ZJ70 | ZJ70 | SZ-100 | 7 |
| JZJS150-21 | 150 | 10-1 | ZJ150A | ZJ70 | SZ-250 | 15.5 |
| JZJS150-12 | 150 | 10-1 | ZJ150A | ZJ150A | SZ-250 | 17 |
| JZJS300-41 | 300 | 10-1 | ZJ300 | ZJ70 | SZ-250 | 16.5 |
| JZJS300-22 | 300 | 10-1 | ZJ300 | ZJ150A | SZ-250 | 18 |
| JZJS600-41 | 600 | 10-1 | ZJ600 | ZJ150A | SZ-360 | 23.5 |
| JZJS1200-22 | 1200 | 10-1 | ZJ1200A | ZJ600 | 2SK-12 | 46.5 |
FY液下泵主要性能參數
| 型號規格 | 出口直徑 mm |
流量 | 揚程 m |
轉速 r/min |
功率(KW) | 液下長度 m |
||
| m3/h | L/S | 軸功率 | 電機功率 | |||||
| 25FY-16 | 25 | 3.6 | 1 | 16 | 2900 | 0.713 | 1.5 | 0.5-2.5 |
| 25FY-16A | 25 | 3.27 | 0.91 | 13 | 2900 | 0.713 | 1.5 | 0.5-2.5 |
| 25FY-25 | 25 | 3.6 | 1 | 25 | 2900 | 1.16 | 2.2 | 0.5-2.5 |
| 25FY-25A | 25 | 3.27 | 0.91 | 20 | 2900 | 1.16 | 2.2 | 0.5-2.5 |
| 25FY-41 | 25 | 3.6 | 1 | 41 | 2900 | 2.51 | 4 | 0.5-2.5 |
| 25FY-41A | 25 | 3.27 | 0.91 | 33 | 2900 | 2.51 | 3 | 0.5-2.5 |
| 40FY-16 | 40 | 7.2 | 2 | 16 | 2900 | 0.78 | 2.2 | 0.5-2.5 |
| 40FY-16A | 40 | 6.55 | 1.82 | 13 | 2900 | 0.78 | 1.5 | 0.5-2.5 |
| 40FY-26 | 40 | 7.2 | 2 | 26 | 2900 | 1.45 | 3 | 0.5-2.5 |
| 40FY-26A | 40 | 6.55 | 1.82 | 21 | 2900 | 1.45 | 3 | 0.5-2.5 |
| 40FY-40 | 40 | 7.2 | 2 | 40 | 2900 | 2.53 | 5.5 | 0.5-2.5 |
| 40FY-40A | 40 | 6.55 | 1.82 | 32 | 2900 | 2.53 | 5.5 | 0.5-2.5 |
| 50FY16 | 50 | 14.4 | 4 | 16 | 2900 | 1.18 | 3 | 0.5-2.5 |
| 50FY-16A | 50 | 13.1 | 3.64 | 13 | 2900 | 1.18 | 3 | 0.5-2.5 |
| 50FY-25 | 50 | 14.4 | 4 | 25 | 2900 | 1.96 | 4 | 0.5-2.5 |
| 50FY-25A | 50 | 13.1 | 3.64 | 20 | 2900 | 1.96 | 3 | 0.5-2.5 |
| 50FY-40 | 50 | 14.4 | 4 | 40 | 2900 | 3.73 | 7.5 | 0.5-2.5 |
| 50FY-40A | 65 | 13.1 | 3.64 | 33 | 2900 | 3.73 | 5.5 | 0.5-2.5 |
| 65FY-16 | 65 | 28.8 | 8 | 16 | 2900 | 2.16 | 4 | 0.75-2.5 |
| 65FY-16A | 65 | 26.2 | 7.28 | 13 | 2900 | 2.16 | 3 | 0.75-2.5 |
| 65FY-25 | 65 | 28.8 | 8 | 25 | 2900 | 3.56 | 5.5 | 0.75-2.5 |
| 65FY-25A | 65 | 26.2 | 7.28 | 21 | 2900 | 3.56 | 5.5 | 0.75-2.5 |
| 65FY-40 | 65 | 28.8 | 8 | 40 | 2900 | 6.04 | 11 | 0.75-2.5 |
| 65FY-40A | 65 | 26.2 | 7.28 | 33 | 2900 | 6.04 | 11 | 0.75-2.5 |
| 80FY-15 | 80 | 54 | 15 | 15 | 2900 | 3.34 | 7.5 | 1-2.5 |
| 80FY-15A | 80 | 49.1 | 13.65 | 12 | 2900 | 3.34 | 7.5 | 1-2.5 |
| 80FY-24 | 80 | 54 | 15 | 24 | 2900 | 5.43 | 11 | 1-2.5 |
| 80FY-24A | 80 | 49.1 | 13.65 | 20 | 2900 | 5.43 | 11 | 1-2.5 |
| 80FY-38 | 80 | 54 | 15 | 38 | 2900 | 9.64 | 18.5 | 1-2.5 |
| 80FY-38A | 80 | 49.1 | 13.65 | 31 | 2900 | 9.64 | 15 | 1-2.5 |
| 100FY-23 | 100 | 100.8 | 28 | 23 | 2900 | 9.25 | 18.5 | 1-2.5 |
| 100FY-23A | 100 | 91.8 | 25.5 | 18 | 2900 | 9.25 | 15 | 1-2.5 |
| 100FY-37 | 100 | 100.8 | 28 | 37 | 2900 | 14.73 | 22 | 1-2.5 |
| 100FY-37A | 100 | 91.8 | 25.5 | 31 | 2900 | 14.73 | 22 | 1-2.5 |
注:1、液下長度為安裝盤下至過濾網底之長度。2、以上所標電機功率按輸送介質比重1.4配置。
FY液下泵外形及安裝尺寸圖表

FY液下泵外形及安裝尺寸圖1

FY液下泵外形及安裝尺寸圖2
| 型號 | W | M | H | D | D0 | n-m | A | B | A1 | B1 | A2 | B2 | n1-m1 | Dg | D1 | D01 | n2-m2 |
| 25-16 | 420 | 195 | 205 | 560 | 510 | 8-ф18 | 600 | 400 | 510 | 350 | 170 | 160 | 10-ф18 | 25 | 115 | 85 | 4-ф14 |
| 25-25 | 420 | 195 | 205 | 560 | 510 | 8-ф18 | 600 | 400 | 510 | 350 | 170 | 160 | 10-ф18 | 25 | 115 | 85 | 4-ф14 |
| 25-41 | 420 | 195 | 205 | 560 | 510 | 8-ф18 | 600 | 400 | 510 | 350 | 170 | 160 | 10-ф18 | 25 | 115 | 85 | 4-ф14 |
| 40-16 | 420 | 195 | 205 | 560 | 510 | 8-ф18 | 600 | 400 | 510 | 350 | 170 | 160 | 10-ф18 | 32 | 140 | 100 | 4-ф18 |
| 40-26 | 420 | 195 | 205 | 560 | 510 | 8-ф18 | 600 | 400 | 510 | 350 | 170 | 160 | 10-ф18 | 32 | 140 | 100 | 4-ф18 |
| 40-40 | 420 | 225 | 205 | 560 | 510 | 8-ф18 | 600 | 400 | 510 | 350 | 170 | 160 | 10-ф18 | 32 | 140 | 100 | 4-ф18 |
| 50-16 | 420 | 205 | 205 | 560 | 510 | 8-ф18 | 600 | 400 | 510 | 350 | 170 | 160 | 10-ф18 | 40 | 150 | 110 | 4-ф18 |
| 50-25 | 420 | 205 | 205 | 560 | 510 | 8-ф18 | 600 | 400 | 510 | 350 | 170 | 160 | 10-ф18 | 40 | 150 | 110 | 4-ф18 |
| 50-40 | 420 | 225 | 205 | 560 | 510 | 8-ф18 | 600 | 400 | 510 | 350 | 170 | 160 | 10-ф18 | 40 | 150 | 110 | 4-ф18 |
| 65-16 | 550 | 310 | 250 | 700 | 650 | 12-ф18 | 750 | 450 | 660 | 360 | 220 | 180 | 10-ф18 | 50 | 165 | 125 | 4-ф18 |
| 65-25 | 550 | 310 | 250 | 700 | 650 | 12-ф18 | 750 | 450 | 660 | 360 | 220 | 180 | 10-ф18 | 50 | 165 | 125 | 4-ф18 |
| 65-40 | 550 | 310 | 250 | 700 | 650 | 12-ф18 | 750 | 450 | 660 | 360 | 220 | 180 | 10-ф18 | 50 | 165 | 125 | 4-ф18 |
| 80-15 | 550 | 310 | 270 | 700 | 650 | 12-ф18 | 750 | 450 | 660 | 360 | 220 | 180 | 10-ф18 | 65 | 185 | 145 | 4-ф18 |
| 80-25 | 550 | 310 | 270 | 700 | 650 | 12-ф18 | 750 | 450 | 660 | 360 | 220 | 180 | 10-ф18 | 65 | 185 | 145 | 4-ф18 |
| 80-38 | 550 | 310 | 270 | 700 | 650 | 12-ф18 | 750 | 450 | 660 | 360 | 220 | 180 | 10-ф18 | 65 | 185 | 145 | 4-ф18 |
| 100-23 | 550 | 310 | 275 | 700 | 650 | 12-ф18 | 750 | 450 | 660 | 360 | 220 | 180 | 10-ф18 | 80 | 200 | 160 | 8-ф18 |
| 100-37 | 550 | 310 | 275 | 700 | 650 | 12-ф18 | 750 | 450 | 660 | 360 | 220 | 180 | 10-ф18 | 80 | 200 | 160 | 8-ф18 |
注:
1.本網頁的FY型液下泵結構、結構圖、尺寸、參數、流量、揚程、電機轉速等主要性能參數,以及安裝尺寸圖、安裝尺寸表均只適用于參考,詳細CAD圖、安裝圖、以及產品說明書請向賽泰水泵營銷人員索取。
2.由于編輯水平有限,錯誤和不妥之處在所難免,真誠希望您批評指正。
FY型液下泵相關產品
下一頁:FYS型耐腐蝕液下泵
返回至本系列目錄:液下泵