Home > products > Pump > Multi-stage Pumps
QDL/QDLF2


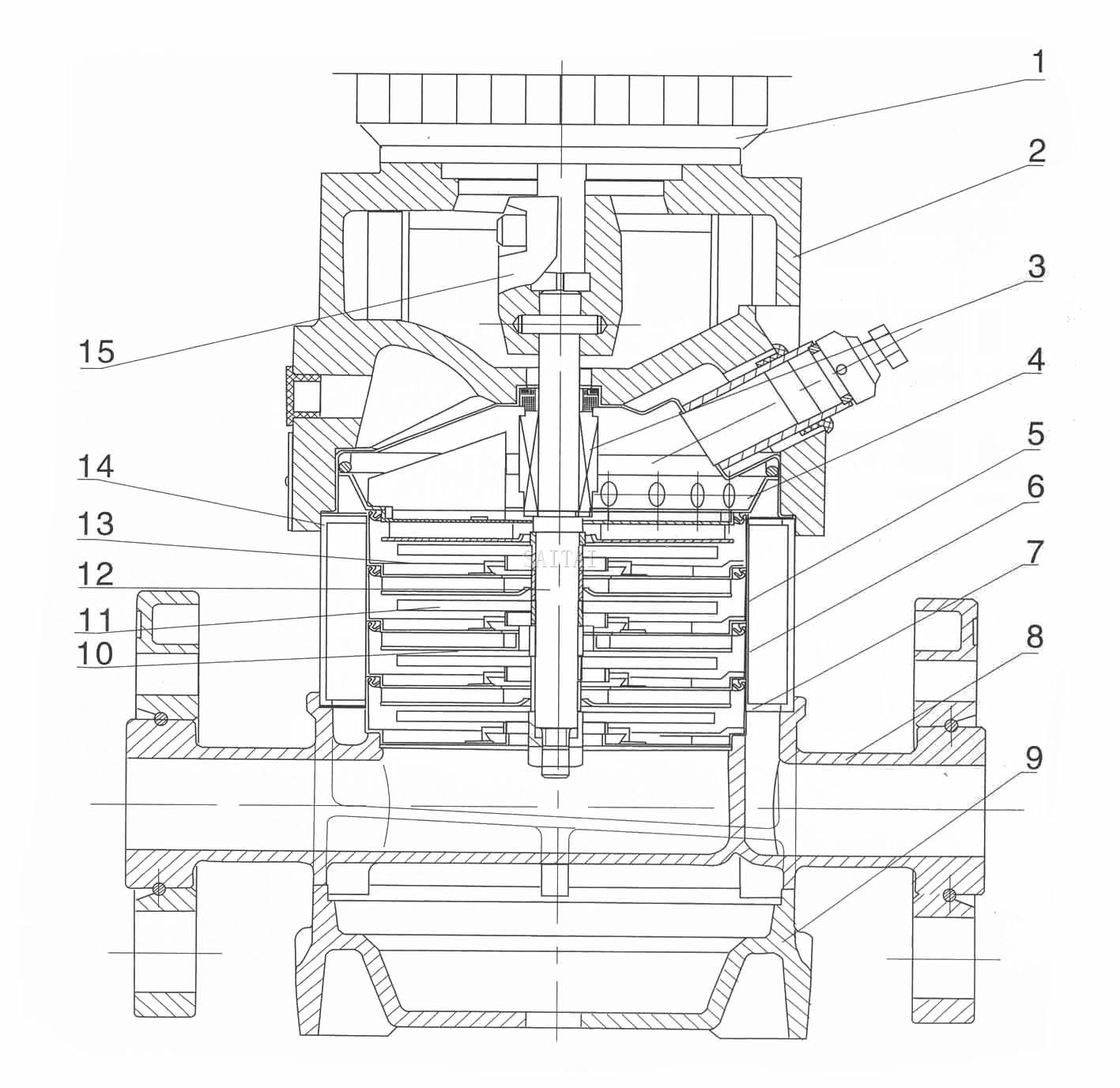
I Section drawing QDL,QDLF2,4 for Vertical Multistage Centrifugal Pump

II Material QDL,QDLF2,4
NO. |
Name | Material | AISI ASTM | NO. | Name | Material | AISI ASTM |
| 1 | Electric motor | 9 | Base frame | Cast iron | ASTM25B | ||
| 2 | Electric motor frame | Cast iron | ASTM25B | 10 | Bearing | Tungsten carbide | AISI304 |
| 3 | Mechanical seal | 11 | Impeller | Stainless steel | AISI316 | ||
| 4 | Outlet Inducer | Stainless steel | AISI304 | 12 | Shaft | Stainless steel | AISI304 |
| 5 | Bearing frame Inducer | Stainless steel l |
AISI304 | 13 | Impeller separating sleeve | Stainless steel | AISI304 |
| 6 | Inducer | Stainless steel | AISI304 | 14 | Pressure-resistant cylinder | Stainless steel | |
| 7 | Inlet Inducer | Stainless steel | AISI304 | 15 | Coupling | Carbon steel | |
| 8 | Pump frame | Stainless steel | ASTM25B | Rubber parts | FPM |
III Performance table for QDL/QDLF2
| Model | Driving motor(KW) | Q (m3/h) | 1 | 1.2 | 1.6 | 2.0 | 2.4 | 2.8 | 3.2 | 3.5 |
| QDL2-20 | 0.37 | H (m) | 18 | 17 | 16 | 15 | 13 | 12 | 10 | 8 |
| QDL2-30 | 0.37 | 27 | 26 | 24 | 22 | 20 | 18 | 15 | 12 | |
| QDL2-40 | 0.55 | 36 | 35 | 33 | 30 | 26 | 24 | 20 | 16 | |
| QDL2-50 | 0.55 | 45 | 43 | 40 | 37 | 33 | 30 | 24 | 20 | |
| QDL2-60 | 0.75 | 53 | 52 | 50 | 45 | 40 | 36 | 30 | 24 | |
| QDL2-70 | 0.75 | 63 | 61 | 57 | 52 | 47 | 41 | 35 | 28 | |
| QDL2-90 | 1.1 | 80 | 78 | 73 | 67 | 61 | 54 | 45 | 37 | |
| QDL2-110 | 1.1 | 98 | 95 | 89 | 82 | 73 | 64 | 54 | 44 | |
| QDL2-130 | 1.5 | 116 | 114 | 106 | 98 | 89 | 78 | 65 | 52 | |
| QDL2-150 | 1.5 | 134 | 130 | 123 | 112 | 100 | 90 | 73 | 60 | |
| QDL2-180 | 2.2 | 161 | 157 | 148 | 136 | 121 | 108 | 91 | 76 | |
| QDL2-220 | 2.2 | 197 | 192 | 180 | 165 | 148 | 130 | 110 | 90 | |
| QDL2-260 | 3.0 | 232 | 228 | 214 | 198 | 179 | 158 | 130 | 110 |
IV Size and weight for QDL/QDLF2
Model |
Size(mm) | Weight(kg) | ||||
| B1 | B2 | B1+B2 | D1 | D2 | ||
| QDL2-20 | 220 | 210 | 430 | 148 | 117 | 20 |
| QDL2-30 | 238 | 210 | 448 | 148 | 117 | 20 |
| QDL2-40 | 256 | 210 | 466 | 148 | 117 | 20 |
| QDL2-50 | 274 | 210 | 484 | 148 | 117 | 20 |
| QDL2-60 | 297 | 245 | 542 | 170 | 142 | 25 |
| QDL2-70 | 315 | 245 | 560 | 170 | 142 | 25 |
| QDL2-90 | 351 | 245 | 596 | 170 | 142 | 30 |
| QDL2-110 | 387 | 245 | 632 | 170 | 142 | 30 |
| QDL2-130 | 440 | 290 | 730 | 190 | 155 | 35 |
| QDL2-150 | 476 | 290 | 766 | 190 | 155 | 35 |
| QDL2-180 | 530 | 290 | 820 | 190 | 155 | 40 |
| QDL2-220 | 602 | 290 | 892 | 190 | 155 | 45 |
| QDL2-260 | 682 | 315 | 997 | 197 | 165 | 50 |
QDL/QDLF2 Vertical Multistage Centrifugal Pump Related Products
Next:QDL/QDLF32 Vertical Multistage Centrifugal Pump
Catalog:Multi-stage Pumps