Home > products > Pump > Multi-stage Pumps
QDL/QDLF32


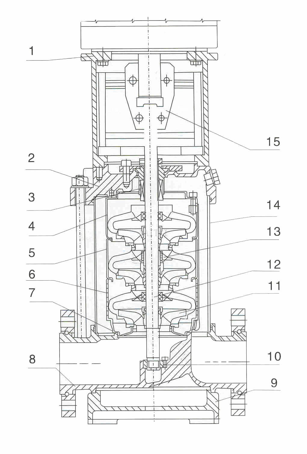
I Section drawing QDL,QDLF32 for Vertical Multistage Centrifugal Pump

II Material QDL,QDLF32
| NO. | Name | Material | AISI ASTM |
| 1 | Electric motor fram | Cast iron | ASTM25B |
| 3 | Mechanical seal | Tungsten carbide | |
| 4 | Outlet Inducer | Stainless steel | AISI304 |
| 5 | Bearing frame lnducer | Stainless steel | AISI304 |
| 6 | Inducer | Stainless steel | AISI304 |
| 7 | Inlet lnducer | Stainless steel | AISI304 |
| 9 | Base frame | Cast iron | ASTM25B |
| 10 | Bottom Bearing | Tungsten carbide | |
| 11 | Impeller | Stainless steel | AISI304 |
| 12 | Shaft | Stainless steel | AISI316 |
| 13 | Inermediate-shaft sleeve | Tungsten carbide | |
| 14 | Pressure-resistant cylinder | Stainless steel | AISI304 |
| 15 | Coupling | Carbon steel | |
| Rubber parts | FPM | ||
| QDL | |||
| 2 | Pump head frame | Cast iron | ASTM25B |
| 8 | Pump frame | Stainless steel | AISI304 |
| QDLF | |||
| 2 | Pump head frame | Stainless steel | AISI304 |
| 8 | Pump frame | Stainless steel | AISI304 |
III Performance table for QDL/QDLF32
| Model | Driving motor(kw) | Q (m3/h) | 16 | 20 | 24 | 28 | 32 | 36 | 40 |
| QDL32-10-1 | 1.5 | H (m) | 14 | 13 | 12 | 11 | 9 | 7 | 4 |
| QDL32-10 | 2.2 | 18 | 17 | 15 | 14 | 13 | 11 | 8 | |
| QDL32-20-2 | 3.0 | 29 | 28 | 26 | 23 | 20 | 16 | 11 | |
| QDL32-20 | 4.0 | 36 | 34 | 32 | 29 | 27 | 23 | 18 | |
| QDL32-30-2 | 5.5 | 47 | 44 | 41 | 38 | 33 | 28 | 21 | |
| QDL32-30 | 5.5 | 54 | 51 | 48 | 44 | 40 | 35 | 27 | |
| QDL32-40-2 | 7.5 | 65 | 62 | 58 | 53 | 46 | 40 | 30 | |
| QDL32-40 | 7.5 | 72 | 69 | 65 | 59 | 53 | 47 | 37 | |
| QDL32-50-2 | 11 | 83 | 79 | 74 | 68 | 60 | 52 | 41 | |
| QDL32-50 | 11 | 90 | 86 | 81 | 74 | 67 | 59 | 47 | |
| QDL32-60-2 | 11 | 101 | 97 | 90 | 83 | 74 | 65 | 51 | |
| QDL32-60 | 11 | 108 | 104 | 97 | 90 | 81 | 72 | 57 | |
| QDL32-70-2 | 15 | 119 | 114 | 107 | 98 | 88 | 78 | 60 | |
| QDL32-70 | 15 | 126 | 121 | 113 | 105 | 95 | 85 | 67 | |
| QDL32-80-2 | 15 | 136 | 131 | 123 | 114 | 102 | 90 | 71 | |
| QDL32-80 | 15 | 144 | 138 | 130 | 120 | 109 | 97 | 77 | |
| QDL32-90-2 | 18.5 | 154 | 148 | 140 | 129 | 117 | 102 | 82 | |
| QDL32-90 | 18.5 | 162 | 156 | 147 | 136 | 124 | 109 | 88 | |
| QDL32-100-2 | 18.5 | 175 | 166 | 157 | 146 | 131 | 115 | 91 | |
| QDL32-100 | 18.5 | 182 | 173 | 164 | 152 | 138 | 122 | 98 | |
| QDL32-110-2 | 22 | 193 | 184 | 173 | 164 | 146 | 128 | 102 | |
| QDL32-110 | 22 | 200 | 191 | 180 | 168 | 153 | 135 | 109 | |
| QDL32-120-2 | 22 | 211 | 201 | 189 | 178 | 160 | 140 | 113 | |
| QDL32-120 | 22 | 218 | 208 | 196 | 184 | 167 | 147 | 120 | |
| QDL32-130-2 | 30 | 230 | 218 | 206 | 193 | 174 | 153 | 124 | |
| QDL32-130 | 30 | 237 | 225 | 213 | 200 | 181 | 160 | 131 | |
| QDL32-140-2 | 30 | 247 | 235 | 222 | 210 | 189 | 165 | 135 | |
| QDL32-140 | 30 | 255 | 242 | 229 | 216 | 196 | 172 | 142 |
IV Size and weight for QDL/QDLF32
| Model | Size(mm) | Weight(kg) | ||||
| B1 | B2 | B1+B2 | D1 | D2 | ||
| QDL32-10-1/QDL32-10 | 505 | 290 | 795 | 190 | 155 | 68/71 |
| QDL32-20-2/QDL32-20 | 575 | 315/335 | 890/910 | 197/230 | 165/188 | 78/84 |
| QDL32-30-2/QDL32-30 | 645 | 430 | 1075 | 260 | 208 | 93 |
| QDL32-40-2/QDL32-40 | 715 | 430 | 1145 | 260 | 208 | 102 |
| QDL32-50-2/QDL32-50 | 890 | 490 | 1380 | 330 | 255 | 172 |
| QDL32-60-2/QDL32-60 | 960 | 490 | 1450 | 330 | 255 | 176 |
| QDL32-70-2/QDL32-70 | 1030 | 490 | 1520 | 330 | 255 | 188 |
| QDL32-80-2/QDL32-80 | 1100 | 490 | 1590 | 330 | 255 | 192 |
| QDL32-90-2/QDL32-90 | 1170 | 550 | 1720 | 330 | 255 | 218 |
| QDL32-100-2/QDL32-100 | 1240 | 550 | 1790 | 330 | 255 | 222 |
| QDL32-110-2/QDL32-110 | 1310 | 590 | 1900 | 360 | 285 | 259 |
| QDL32-120-2/QDL32-120 | 1380 | 590 | 1970 | 360 | 285 | 263 |
| QDL32-130-2/QDL32-130 | 1450 | 660 | 2110 | 400 | 310 | 327 |
| QDL32-140-2/QDL32-140 | 1520 | 660 | 2180 | 400 | 310 | 331 |
QDL/QDLF32 Vertical Multistage Centrifugal Pump Related Products
Next:QDL/QDLF4 Vertical Multistage Centrifugal Pump
Catalog:Multi-stage Pumps